Муфта GS28 с взрывозащищенным исполнением ATEX: точность по вашим чертежам
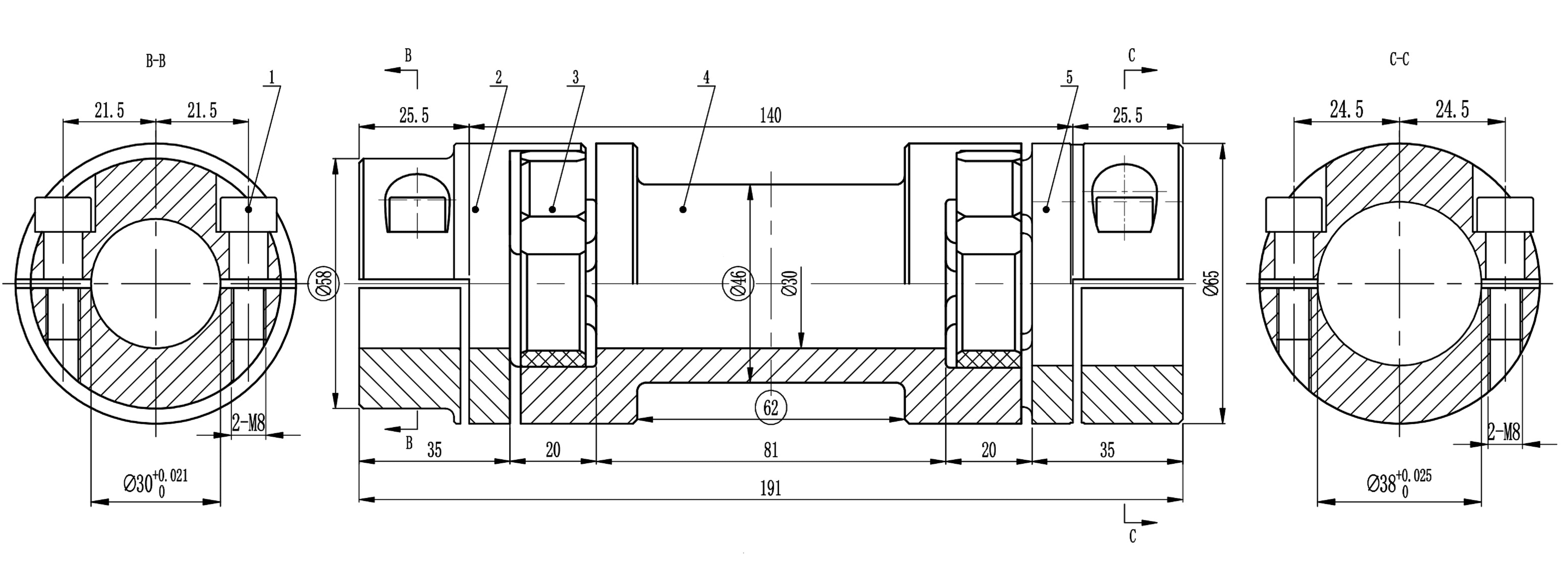
Реализован сложный заказ на изготовление безлюфтовой муфты GS28 с удлинителем DKM-H во взрывозащищенном исполнении ATEX. Все параметры, включая посадочные диаметры 38 мм и 30 мм и длину 81 мм, строго соответствовали предоставленным заказчиком чертежам.
.png)
ТЕХНИЧЕСКИЕ ХАРАКТЕРИСТИКИ ИЗДЕЛИЯ
· Тип муфты: GS28 (безлюфтная) + DKM-H (удлинитель)
· Посадочные диаметры: d1 = 38 мм, d2 = 30 мм
· Общая длина: L = 191 мм
· Материал: Сталь C45
· Твердость упругого элемента: 98 Sh A
· Исполнение: Взрывозащищенное (ATEX)
· Особенность: Изготовлено по чертежам заказчика
Данная муфта представляет собой комбинированное решение, объединяющее классическую безлюфтовую муфту GS28 и удлинитель DKM-H. Такая конструкция позволяет не только передавать крутящий момент без зазоров, обеспечивая высокую точность позиционирования, но и компенсировать возможные осевые смещения валов.
Ключевые преимущества решения:
· Абсолютное соответствие ТЗ: Все геометрические параметры (диаметры, длина, посадочные места) были выдержаны с высокой точностью в соответствии с предоставленными эскизами. Это гарантирует идеальную посадку в существующую кинематическую схему заказчика.
· Взрывозащита (ATEX): Исполнение муфты соответствует директиве ATEX, что позволяет безопасно эксплуатировать ее во взрывоопасных зонах (зоны 1 и 2). Это критически важно для применений в химической, нефтегазовой промышленности, а также на производствах, где присутствуют горючие газы или пыль.
· Надежность и долговечность: Использование стали C45 и упругого элемента твердостью 98 Sh A обеспечивает высокую прочность, износостойкость и сопротивление усталости, что значительно увеличивает межсервисный интервал и ресурс всего узла.
· Компенсация смещений: Конструкция эффективно компенсирует радиальные, осевые и угловые смещения валов, снижая вибрации и предотвращая преждевременный износ подшипников и других элементов привода.
Изготовление данной муфты — наглядный пример нашего подхода к решению нестандартных задач. Деталь не является серийной и была спроектирована и произведена «с нуля» на основании технического задания и чертежей заказчика. Весь цикл работ — от подбора марки стали и режимов термообработки до финишной механической обработки — был выполнен с учетом строгих требований к точности и взрывозащите.
Подобные решения востребованы в высокоточных и ответственных системах, работающих в жестких условиях:
· Оборудование для химической и нефтегазовой промышленности
· Взрывозащищенные вентиляторы и насосы
· Дозирующие и упаковочные станки для горючих материалов
· Системы аспирации на производствах с горючей пылью
· Специализированные станки с ЧПУ, где требуется высокая точность и надежность
Реализованный проект по изготовлению муфты GS28 (d1=38, d2=30) + DKM-H (L=81) демонстрирует нашу способность точно и в срок производить сложные, нестандартные компоненты по чертежам заказчика. Соответствие стандарту ATEX и использование качественных материалов делает это решение надежным и безопасным для работы в самых требовательных условиях.
Готовы обсудить вашу уникальную задачу? Присылайте ваши чертежи и требования — мы предложим оптимальное решение.


