Шкив зубчатый под втулку тапербуш TL 25 L 075 (1108), EMT
945 руб./шт
Уточните наличие и цену
Нашли дешевле?
Запрос цены
Наши менеджеры обязательно свяжутся с вами и уточнят условия заказа
Цена действительна при наличии товара на складе.
Минимальная сумма заказа - 1000 рублей.
Ответим на все интересующие вопросы и подберём оптимальный вариант info@euromehanika.ru
Описание
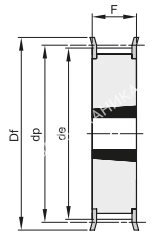
Шкив зубчатый под втулку тапербуш, для ремней с профилем зуба L 0,375'' (9,525mm) и шириной ремня 075 (19,05mm) с числом зубьев шкива Z= 25. Дополнительно комплектуются втулкой для быстрого монтажа и демонтажа. Материал шкива St. Вес детали 0,63 кг. Торговая марка EMT.Характеристики
|
Тип
|
15F |
|
Профиль зуба
|
L 0,375'' (9,525mm) |
|
Ширина ремня
|
075 (19,05mm) |
|
Число зубьев, шт
|
25 |
|
Посадка на вал
|
Под втулку |
|
Втулка тапербуш
|
1108 |
|
Наружный диаметр, de, мм
|
75,04 |
|
Расчетный диаметр, dp, мм
|
75,80 |
|
Наружный диаметр по фланцам, Df
|
83 |
|
Ширина F, мм
|
25,0 |
|
Ширина шкива L, мм
|
25,0 |
|
Материал
|
St |
|
Производитель
|
EMT |
|
Вес, кг
|
0,63 |
Наличие
Новости
Все новости
6 апреля 2026
Нашли дешевле? Мы предложим максимально выгодную цену!
12 марта 2026
«Евромеханика» получила благодарственное письмо
6 марта 2026
Поздравляем с 8 Марта!






























