Модуль линейный (каретка) SC 40 VUU, EMT
2 213 руб./шт
Есть в наличии
Нашли дешевле?
-
+
В корзину
Купить в 1 клик
Цена действительна при наличии товара на складе.
Минимальная сумма заказа - 1000 рублей.
Ответим на все интересующие вопросы и подберём оптимальный вариант info@euromehanika.ru
3Д модель
Откройте сайт с мобильного телефона. На этом устройстве режим просмотра не поддерживается
Описание
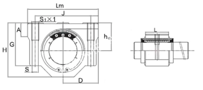
Короткий модуль линейный (каретка) закрытого типа SC40 (SCS40) в алюминиевом корпусе, диаметром 40 мм предназначен для плавного перемещения вдоль цилиндрической направляющей SFC40(W40). Направляющий блок способен выдерживать динамическую нагрузку до 2150Н, статическую нагрузку до 4010Н. Подходит для подшипников типа LM40UU. Длина линейного подшипника в корпусе 56,4мм, высота 78мм.Имеет высокую надёжность, оптимальный момент трения, плавность перемещения и минимальные осевые отклонения.Характеристики
|
Тип
|
SC40(SCS40) |
|
Тип подшипника
|
LM40UU |
|
Диаметр отверстия, d, мм
|
40 |
|
D, мм
|
51 |
|
Исполнение отверстия
|
M10x25 |
|
H, мм
|
78 |
|
L, мм
|
56,4 |
|
G, мм
|
62 |
|
ho, мм
|
40 |
|
Lm, мм
|
102 |
|
e, мм
|
11,0 |
|
S, мм
|
8,6 |
|
J, мм
|
80 |
|
A, мм
|
20,0 |
|
Динамическая грузоподъемность, радиальная, Cr, Н
|
2150 |
|
Статическая грузоподъемность, радиальная, C0r, Н
|
4010 |
|
Материал
|
Алюминий |
|
Производитель
|
EMT |
|
Вес, кг
|
1,22 |
Наличие
Новости
Все новости
6 апреля 2026
Нашли дешевле? Мы предложим максимально выгодную цену!
12 марта 2026
«Евромеханика» получила благодарственное письмо
6 марта 2026
Поздравляем с 8 Марта!




























